Holzrahmen Karlsruhe Maßanfertigung
34,78 CHF
Lieferzeit: 5-8 Tage
Bitte geben Sie das Bildmaß ein ohne Zugabe!
Wir geben bei Leerrahmen noch 5mm Zugabe und bei Rahmen mit Glas 2mm dazu.






Name | Title | Surcharge |
---|---|---|
Bildgröße: | ||
Rahmenfarbe: | ||
Glas: |
Produktinformationen "Holzrahmen Karlsruhe Maßanfertigung"
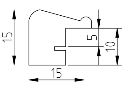
Der Holz-Bilderrahmen Karlsruhe vom Bilderrahmen-Hersteller Effect gibt es in der Farben Nußbraun/Gold. Der Holzrahmen Karlsruhe von Effect passt sich durch seine schlichte Eleganz harmonisch an das Bild an und bringt es dezent in den Vordergrund. Die feine Goldkante lockert den Übergang von Rahmen zum Bild auf. Ein absoluter Klassiker!
- Hochwertiger natürlicher Holzbilderrahmen
- Größe bis 40 x 50cm
- exakte Präzisionsgehrung
- rund geschliffenes, gewaschenes Qualitätsglas
Produktart: | Bilderrahmen |
---|---|
Leistenbreite: | 11-20 mm |
Material: | Holz |
Rahmenstil: | Klassisch |
Anmelden